Q 1. OLX is slowly emerging as the place to buy and sell used stuff online in India. Which was the country to have the first OLX ?
Ans. Argentina
Q 2. Which tech major has acquired the internet security start-up Impermium which has two indian founders ?
Ans. Google
Q 3. What is the unique service provided by the website www.idealist.org ?
Ans. A place for seeking and offering volunteering opportunities
Q4. Which company has got a trademark on the word ‘candy’ forcing many companies to withdraw their games which has candy in their name ?
Ans. King, the developer of Candy crush Saga
Q5. Which country’s citizens have the highest per capita tea consumption in the world ?
Ans. Turkey
Q.6. Which brand has launched a 3 min video on YOuTube which ends with ‘ Har Ghar, ____ Ghar ‘ .? Fill in the blank.
Ans. Amul
Q 7.In which song by which singer are lines like You wanna Bugatti ‘ You wanna Maserati’ ‘You wanna Lamborghini’ urging people to work ?
Ans. Work Bitch by Britney Spears
Q 8.Name the 6 countries that make up the emerging markets CIVETS, coined by Robert Ward of EIU.
Ans. Columbia, Indonesia, Vietnam, Egypt, Turkey, South Africa
Q 9. Coffee houses are places where people hangout. How has a coffee house in Moscow decided to charge its customers ? It is becoming a trend now
Ans. Paying by time and not cups. Coffee and cookies are on the house
Q. 10 What is the unique business of Art Remba ?
Ans. Art on rent
Q. 11 Times Group has launched a Gujarati daily from Ahmedabad. What is its name ?
Ans. Nav Gujarat Samay
Q. 12Who is the publisher of Jitendra Bhargava’s book The Descent of Air India & has apologised to Praful Patel and decided to withdraw the book?
Ans. Bloomsbury
Q, 13 Who has won the telecast rights for the FIFA world cup and other events for the next 5 yrs for the Indian sub-continent ?
Ans. Sony Six
Q 15. With which foreign IT services major has HCL Tech announced a strategic alliance, sparking rumours of a merger ?
Ans. CSC
Q. 16 In what business are the start-ups Notion Press, Cinnamon Teal , Pothi , Zorba ?
Ans. Self-publishing services providers
Q 17 Identify this logo
Q 18. Teacher’s whiskey and other brands of Beam have been acquired by whom recently ?
Ans. Suntory of Japan
Q 19. Which tech major has acquired Nest , the makers of the smart thermostat and other home automation products ?
Ans. Google
Q 20. Identify this Identify this Indian American and her achievement.
Ans. Kavya Manyapu, the only lady flight test engineer in the Boeing team building a space exploration flight for NASA
Q 21. The two logos are frighteningly similar. One is Westland Publishing’s logo. Which is the other one ?
Ans. Walgreen’s
Q 22. In this recent TVC what is Aishwarya promoting?
Ans. Stemcell banking for LifeCell
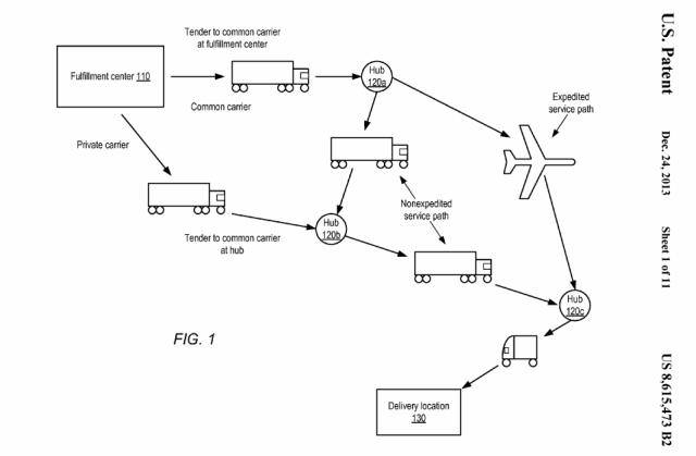
Q 23. This is a diagram of a patent awarded to Amazon recently. What is the patent for ?
Ans. Anticipatory shipping
Q24. Why is this company in the news ?
Ans. Yara is a fertilizer co which is involved in a corruption scandal with Kribhco for a JV in India.
– Compiled by G.Mohan @go_mohan






